CGP系列磁刮板排屑裝置
時間:2011-01-06 17:38

體積小、效能高;為短屑及碎屑除送之較適合機型;
刮板寬度多元化,選擇范圍廣;
堅固的刮板組合,強度高、配合精準、動作穩定;
扭力限制設定,有效降低損害。
磁性刮板是為了加速細小鐵屑(尤其是鑄鐵屑)的沉淀,達到更好的排屑效果。
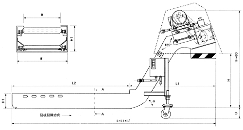
| B | B1 | H | H1 | L | a | 功率 |
| 120-1500 | 180-1560 | 0-10000 | ≥130 | 600-100000 | 0-60 | 0.2-3Kw |
注:型號標注GP□或CGP□,□為刮板工作寬度B。如:B=180,標注為GP180CGP系列磁刮板H1≥160

上一篇:LP系列鏈板式排屑器 下一篇:CP系列磁性排屑器
